беспилотного космолета Skylon компании Reaction Engines Limited.
whatsapp://send?text=%D0%92%20%D0%9A%D0%9D%D0%98%D0%A2%D0%A3-%D0%9A%D0%90%D0%98%20%D1%81%D0%BF%D1%80%D0%BE%D0%B5%D0%BA%D1%82%D0%B8%D1%80%D0%BE%D0%B2%D0%B0%D0%BB%D0%B8%20%D1%81%D1%82%D1%80%D0%B0%D1%82%D0%BE%D0%BB%D0%B5%D1%82%20%D0%B4%D0%BB%D1%8F%20%D0%BF%D1%83%D1%82%D0%B5%D1%88%D0%B5%D1%81%D1%82%D0%B2%D0%B8%D0%B9%20%D0%BC%D0%B5%D0%B6%D0%B4%D1%83%20%D0%BA%D0%BE%D0%BD%D1%82%D0%B8%D0%BD%D0%B5%D0%BD%D1%82%D0%B0%D0%BC%D0%B8
https%3A%2F%2Fwww.business-gazeta.ru%2Fnews%2F530642%3Futm_medium%3Ddesktop%26utm_source%3Dyxnews
https://telegram.me/share/url?url=https://www.business-gazeta.ru/news/530642?utm_medium=desktop&utm_source=yxnews&text=%D0%92%20%D0%9A%D0%9D%D0%98%D0%A2%D0%A3-%D0%9A%D0%90%D0%98%20%D1%81%D0%BF%D1%80%D0%BE%D0%B5%D0%BA%D1%82%D0%B8%D1%80%D0%BE%D0%B2%D0%B0%D0%BB%D0%B8%20%D1%81%D1%82%D1%80%D0%B0%D1%82%D0%BE%D0%BB%D0%B5%D1%82%20%D0%B4%D0%BB%D1%8F%20%D0%BF%D1%83%D1%82%D0%B5%D1%88%D0%B5%D1%81%D1%82%D0%B2%D0%B8%D0%B9%20%D0%BC%D0%B5%D0%B6%D0%B4%D1%83%20%D0%BA%D0%BE%D0%BD%D1%82%D0%B8%D0%BD%D0%B5%D0%BD%D1%82%D0%B0%D0%BC%D0%B8
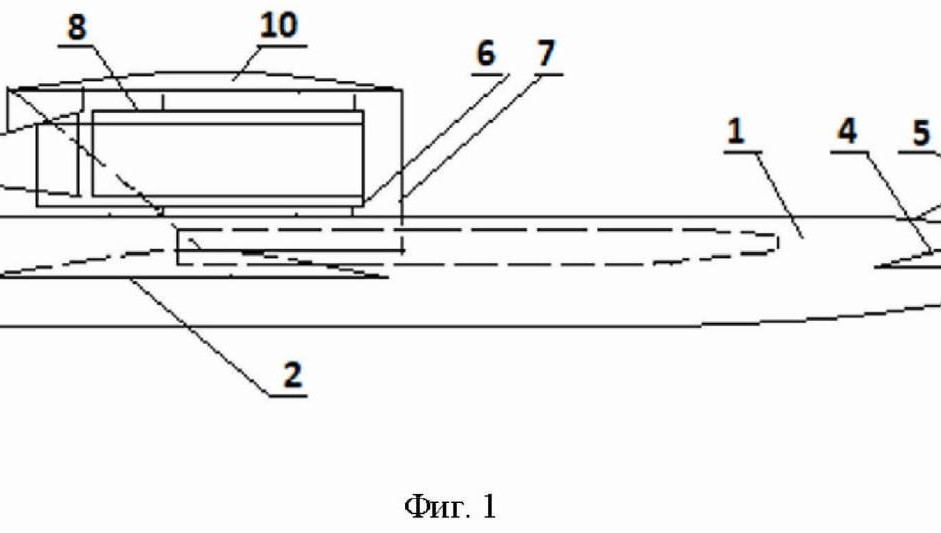
В Казанском национальном исследовательском техническом университете имени Туполева (КАИ) проектировали сверхзвуковой летательный аппарат для межконтинентальных полетов в стратосфере, пишет РИА Новости со ссылкой на документ Роспатента.
Стратолет предназначен для путешествий между континентами. Состоять такое приспособление будет из фюзеляжа с крыльями, горизонтальных управляющих поверхностей, комбинированного ракетного или воздушно-ракетного двигателя на кислороде и разгонного блока, к которому закрепят два газотурбинных двигателя и обтекатель двигателя фюзеляжа.
По словам ученых КНИТУ-КАИ, технические решения позволят создать аппарат с увеличенной полезной нагрузкой и сокращенным временем взлета, который не сравнится с иностранными конкурентами.
Наиболее близким аналогом разработки в казанском университете назвали проект британского многоразового беспилотного космолета Skylon компании Reaction Engines Limited, который собираются запустить в середине 2020-х годов.
Ранее сообщалось, что в Иннополисе создали первый в мире индустриальный блокчейн с формальной верификацией. Универсальная система поддерживает операции по нескольким процессам — от заправки воздушных судов до оплаты ЖКУ.
Читайте также: Путин предложил увеличить в 2022 году сумму прожиточного минимума

